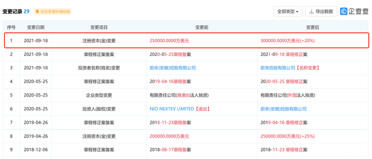
日前,据企查查显示,上海蔚来汽车有限公司发生工商变更,注册资本由25亿美元增至30亿美元,增幅20%。


资料显示,该公司成立于2015年5月,法定代表人为秦力洪,经营范围包括新能源汽车整车及相关零部件的技术开发等。股东信息显示,该公司由蔚来控股有限公司全资控股。
此前,蔚来公布2021年8月交付信息。蔚来8月共交付5880台,同比增长48.3%。2021年蔚来已完成交付55767台,较去年同期增长157.4%。此外,蔚来8月订单数量持续增长,单月新增订单量创历史新高,三季度交付量最新指引为22500至23500台(此前为23000-25000辆)。(消息来源:企查查;编译/汽车之家 李娜)
郑重声明:本文版权归原作者所有,转载文章仅为传播更多信息之目的,如作者信息标记有误,请第一时间联系我们修改或删除,多谢。