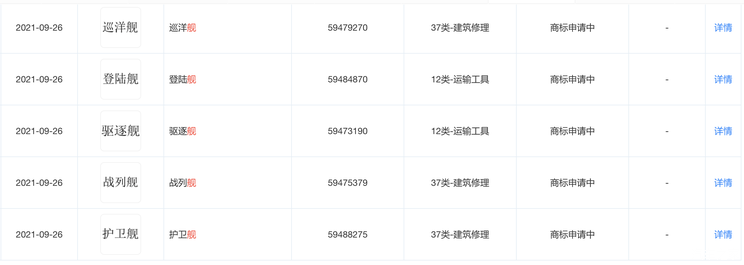
日前,据天眼查App显示,比亚迪申请注册军舰系列商标,包括“巡洋舰”、“护卫舰”、“登陆舰”、“驱逐舰”以及“战列舰”等商标,国际分类涉及运输工具、建筑修理,目前商标状态均为申请中。


目前关于新商标的的用途还不得而知,如果是为车辆命名的话,它将成为继王朝系列、海洋系列之后的又一大产品序列。不过这么霸气的名字,不知道会是什么样的车才能匹配的上。对于比亚迪全新的军舰命名,您是否有话说?期待在评论区看到您的精彩留言。(文/汽车之家 郭辰)
郑重声明:本文版权归原作者所有,转载文章仅为传播更多信息之目的,如作者信息标记有误,请第一时间联系我们修改或删除,多谢。